wAP ax, wAPG-5HaxD2HaxD
Safety Warnings
Before you work on any MikroTik equipment, be aware of the hazards involved with electrical circuitry, and be familiar with standard practices for preventing accidents. The installer should be familiar with network structures, terms, and concepts.
Use only the power supply and accessories approved by the manufacturer, and which can be found in the original packaging of this product.
This equipment is to be installed by trained and qualified personnel, as per these installation instructions. The installer is responsible for making sure, that the Installation of the equipment is compliant with local and national electrical codes. Do not attempt to disassemble, repair, or modify the device.
This product is intended to be mounted outdoors on a pole but can also be installed indoors. Please read the mounting instructions carefully before beginning installation. Failure to use the correct hardware and configuration or to follow the correct procedures could result in a hazardous situation for people and damage to the system.
We cannot guarantee that no accidents or damage will occur due to the improper use of the device. Please use this product with care and operate at your own risk!
The socket-outlet shall be installed near the equipment and shall be easily accessible.
In the case of device failure, please disconnect it from power. The fastest way to do so is by unplugging the power adapter from the power outlet.
To avoid contamination of the environment, separate the device from household waste and dispose of it in a safe manner, for example, in designated areas. Become familiar with procedures for properly transporting the equipment to designated collection points in your area.
This is a Class A product. In a domestic environment, this product might cause radio interference in which case the user might be required to take adequate measures
Exposure to Radio Frequency Radiation: This MikroTik equipment complies with the FCC, IC, and European Union radiation exposure limits set forth for an uncontrolled environment. This MikroTik device should be installed and operated no closer than 20 centimeters from your body, occupational user, or the general public.
Quickstart
- Make sure your ISP allows hardware change and will issue an automatic IP address;
- Open the bottom lid;
- Connect the device to the included PoE injector with an Ethernet cable to the "data+power" end;
- Connect the data end of the PoE injector to the computer;
- Connect the power adapter to the PoE injector;
- Navigate to the network connections section on your computer and locate the wireless network named "MikroTik-...". Proceed to connect to it (check the wireless passwords on the sticker);
Configuration should be made via a wireless network using a mobile application or you can use the "WinBox" configuration tool https://mt.lv/WinBox;
- Download and open "WinBox", and choose the "Neighbors" tab to find the device;
- Click on the MAC address. The username is "admin" and there is no password (or, for some models, check user and wireless passwords on the sticker);
- For a manual update of the device, visit the products page at https://mikrotik.com/products to find your product. The required packages are accessible under the "Support&Downloads" menu;
- Upload downloaded packages to the "WinBox Files" menu and reboot the device. By upgrading your RouterOS software to the latest version, you can ensure optimal performance, stability, and security updates;
- In the "QuickSet" menu set up the following: Choose your country, to apply country regulation settings;
- Set up your wireless network password in the left field;
- Set up your router password in the bottom field.
Mounting
The device can be mounted in several ways: wall, ceiling, pole or it can be placed in specially designed MikroTik holder which comes with the package. The package includes a drill hole template with instructions, to help you with the Ethernet cable installation and attachment to a ceiling or a wall. The package also includes a steel bracket to put on the other side of a dropdown ceiling tile and two screws and wall anchors. The Unit can be attached to the pole using zip ties or steel clamp.
To prevent the bottom lid for opening the different screw can be used. One Torx T20 security screw is included for optional use. Use it with the included L-shaped wrench to fix it into the bottom lid. Detailed instructions of replacing the screw are in the package.
When using and installing this device please pay attention to Maximum Permissible Exposure (MPE) safety distance with a minimum of 31 cm between the radiator and your body.
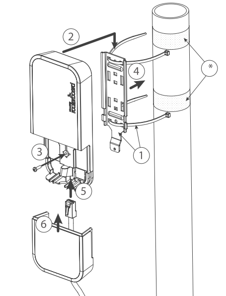
Mounting on the mast or pole:
* It's recommended to use electrical tape to increase friction between materials.
- Mount plastic tie straps to steel brackets guiding them through holes.
- Mount bracket to the device.
- Secure them with a screw.
- Mount and align the device on the pole or mast.
- Guide Ethernet cable through the opening and connect to the Ethernet port.
- Close bottom latch and secure with a screw.
It's recommended to secure Ethernet cable to the pole using zip ties. With the distance from the device approximately 30 cm.
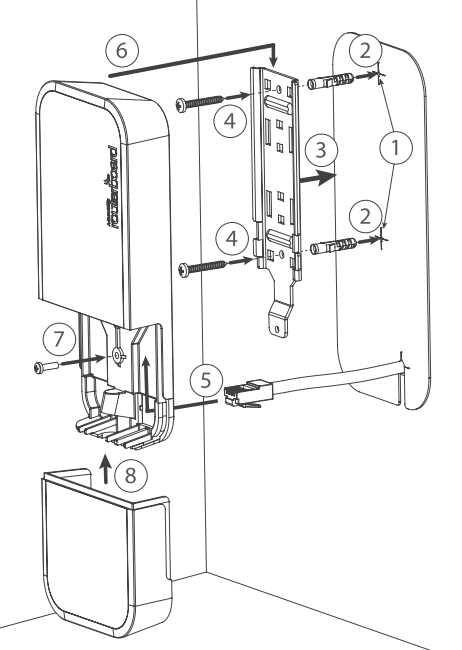
Mounting unit on the wall:
- Use included a template to mark spots for drilling holes. And if needed for Ethernet cable. Align accordingly, it will depend on how the device will be mounted finally.
- Insert dowels if needed, depends on wall structure and material.
- Place included a steel bracket on the wall.
- Use screws to secure it in the place.
- Extend your Ethernet cable through the opening and connect to the Ethernet port.
- Mount the device on the steel bracket
- Secure it in place with the screw.
- Close bottom latch.
Avoid mounting the device on the low ground spot, as you won't be able to attach and close the bottom latch.
Mounting on the ceiling:
A Special bracket is included in the package to mount on the drop ceiling. As it consists of two parts, to be attached on both sides of the ceiling tile.
- Use the template to mark spots for holes.
- Place both mounting brackets on the spot.
- Secure them together using screws.
Continue assembling in the same manner if mounting on the wall.
- Extend your Ethernet cable through the opening and connect to the Ethernet port.
- Mount the device on the steel bracket.
- Secure it in place with the screw.
- Close bottom latch.
Bottom Lid
- The bottom lid is secured in place with the captive screw.
- Use the Philips PH2 screwdriver to unscrew it, but do not remove the screw completely.
- Pull the cover in the opposite direction from the device to remove it.
- Reassemble.
Powering
The device accepts power from the power jack or from the Ethernet port, both provided in the package:
- Direct-input power jack (5.5 mm outside and 2 mm inside, female, pin positive plug) accepts 12-57 V ⎓ DC;
- Ethernet port accepts 802.3af/at PoE 18-57 V ⎓ DC.
The power consumption under maximum load can reach 9 W. Please attach ground (earth) wire to the screw under the bottom lid.
Connecting to a PoE Adapter:
- Connect the Ethernet cable from the device to the PoE+DATA port of the PoE adapter;
- Connect an Ethernet cable from your local network (LAN) to the PoE adapter;
- Connect the power cord to the adapter, and then plug the power cord into a power outlet.
The grounding screw is located under the bottom lid:
Extension slots and ports
- Product code: wAPG-5HaxD2HaxD
- CPU: IPQ-5010 800 MHz
- CPU architecture: ARM
- CPU core count: 2
- Size of RAM: 256 MB
- RAM type: DDR3L
- Storage: 128 MB, NAND
- Number of 1G Ethernet ports: 2
- PoE-in: Ether1
- Operating system: RouterOS (License level 4)
- Wireless interface model: IPQ-5010 (2.4 GHz), QCN-6102 (5 GHz)
- Wireless: 2.4 GHz 802.11b/g/n/ax dual-chain; 5 GHz 802.11a/n/ac/ax dual-chain
- Antenna gain 2.4 GHz: 7 dBi
- Antenna gain 5 GHz: 7 dBi
- Wireless 5 GHz generation: Wi-Fi 6
- WiFi speed: AX3000
- Dimensions 220 x 125 x 22 mm
- Operating temperature -40°C to +70°C
- IP 54
Configuration
We recommend clicking the "Check for updates" button and updating your RouterOS software to the latest version to ensure the best performance and stability.
- Internet connection configuration https://mt.lv/configuration;
- Upgrade options for the RouterOS software https://mt.lv/upgrade;
RouterOS includes many configuration options in addition to what is described in this document. We suggest visiting the RouterOS documentation page to get yourself accustomed to the possibilities: https://mt.lv/help.
In case IP connection is not available, the WinBox tool (https://mt.lv/WinBox) can be used to connect to the MAC address of the device from the LAN side (all access is blocked from the internet port by default).
It is possible to boot the device from a network, for reinstalling RouterOSusing the Netinstall utility for recovery purposes. This can be done from the first Ethernet port.
Buttons and jumpers
The reset button has three functions:
- Hold this button during boot time until LED light starts flashing, release the button to reset RouterOS configuration.
- Keep holding for 5 more seconds, LED turns solid, release now to turn on CAP mode. The device will now look for a CAPsMAN server.
- Or Keep holding the button for 5 more seconds until LED turns off, then release it to make the RouterBOARD look for Netinstall servers.
Regardless of the above option used, the system will load the backup RouterBOOT loader if the button is pressed before power is applied to the device. Useful for RouterBOOT debugging and recovery.
Operating system support
The device supports RouterOS software version 7. The specific factory-installed version number is indicated in the RouterOS menu /system resource. Other operating systems have not been tested.
MikroTik mobile app
Use the MikroTik smartphone app to configure your router in the field, or to apply the most basic initial settings for your MikroTik home access point.
- Scan the QR code and choose your preferred OS.
- Install and open the application.
- Click Connect to establish a connection to your device through a wireless network (check the wireless passwords on the sticker).
- The username is "admin" and there is no password (or, for some models, check user and wireless passwords on the sticker).
- Choose Quick Setup and the application will guide you through all basic configuration settings in a couple of easy steps.
- An advanced menu is available to fully configure all necessary settings.







